Вся автотехника с манипуляторами и КМУ поставляется с полным комплектом документов для постановки на учет в органах ГИБДД и РосТехНадзора (сертификат)
ВНИМАНИЕ цвет! ДОП.ОПЦИЯ На сайте представлены автомобили разных расцветок. Все требования и пожелания по цвету и окраске продукции согласовывайте на этапе разработки технического задания и заключения договора.
| Базовое шасси | Камаз 43118-50 |
| Колесная формула | 6х6 |
| Параметры масс | |
| Снаряженная масса, кг | 14 950 |
| Полная масса, кг | 18 410 |
| Распределение нагрузки от автомобиля полной массы | |
| На передний мост, кг | 6 275 |
| На заднюю тележку, кг | 12 135 |
| Габаритные размеры | |
| Длина, мм | 9 450 |
| Ширина, мм | 2 550 |
| Высота, мм | 3 800 |
| Двигатель | |
| Модель | 740.705-300 (ЕВРО-5) |
| Тип | дизельный |
| Мощность, л.с. | 300 |
| Колеса и шины | |
| Размер шин | 425/85R21 |
Специальный автофургон - маслостанция предназначен для транспортировки, перекачки, замены и заправки маслом агрегатов автомобилей, тракторов, прочих механизмов в автотранспортных предприятиях, станциях технического обслуживания.
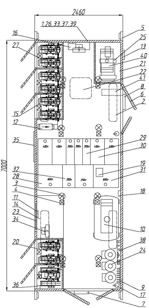
Планировка и внутренняя отделка кузова-фургона
В автофургоне используется только качественная автомобильная фурнитура ведущих европейских производителей. Окна компонуются двойным стеклопакетом с травмобезопасным стеклом. Для увеличения тепло и шумоизоляции проемы дверей и люков окантованы тройным, а окна на скосах фургона двойным контуром высококачественного уплотнителя.
Внутренняя обшивка выполнена высококачественным автомобильным пластиком ПВХ. Такая отделка наиболее практична, так как с нее легко удаляются практически любые загрязнения, незначительные механические повреждения не портят внешний вид.
Маслостанция оборудована автономным воздушным отопителем и отопителем от системы охлаждения ДВС, выполняющим функцию поддержания необходимой температуры.

Внутри кузова-фургона предусмотрены десять изолированных постов для маслозаправочных операций. Маслоперекачивающие посты распологаются в нишах снаруже автофургона.

Перекачка масла из баков осуществляется электронасосными агрегатами НМШ. Насосы размещены на стойке-стеллаже, в нише под ними находятся самосматывающиеся катушки с заправочными пистолетами. Для вывода рукавов наружу кузова-фургона в боковых панелях предусмотрены технологические ниши.

Включение насосов происходит с помощью кнопок «стоп-пуск» пультов управления, расположенные в нише с катушками. В целях обслуживания и раздачи консистентных смазок к трущимся частям агрегатов автомобилей, тракторов и пр. маслостанция оборудована солидолонагнетателем. Раздача смазки осуществляется через пресс-маслёнки в ручную. Для обслуживания агрегатов, находящихся снаружи кузова-фургона, предусмотрен люк.
Специальные технологические ниши для быстрого доступа к оборудованию
Особенностью кузова-фургона являются специальные технологичекие ниши для хранения и быстрого доступа к дозирующим пистолетам. Двери ниш обрамлены с двух сторон уплотнителем, запор дверей осуществляется при помощи врезных замков.

Еще одной особенностью фургона является выдвижной трап и лестница, по которым осуществляется вход персонала внутрь рабочего отсека. Для удобства и экономии пространства трап и лестница в транспортном положении убираются в нишу под полом автофургона. Конструкция предусматривает широкие ступеньки, по которым легче производить спуск и подъем. Ступеньки изготовлены из просечного стального листа, что исключает случайное соскальзывание ноги.

Электрооборудование и электросеть
Источником электроэнергии для подключения оборудования является генератор ГБС-50. Генератор располагается в нише кузова-фургона. Для подключения оборудования предусмотрены розетки.
Также автофургон снабжен внешним подводом электроэнергии. Подключение к внешнему источнику осуществляется гибким кабелем. Для подключения кабеля предусмотрен специальный разъем.

Передвижная мастерская комплектуется необходимым количеством светильников: обычно используются пыле- и влагозащищенные светильники, со степенью защиты IP 54, IP 65, а также плафоны салона с выключателем на корпусе. Проводка выполняется медным кабелем в ПВХ коробах, которая сводится в отдельный электрощит и заземляется. Управление распределением электроэнергии производится при помощи электрического щита, установленного внутри салона. Распределительные щиты комплектуются устройством защитного отключения.

Технические характеристики автотехники, приведенные на данной странице, носят справочный характер, т.к. параметры и иные эксплуатационные показатели зависят от желаемой покупателем комплектации транспортного средства.
При этом завод-изготовитель оставляет за собой право изменять технические характеристики автотехники, а также состав и перечень применяемых для ее изготовления комплектующих, если указанные мероприятия направлены на улучшение параметров конструкции, работоспособности автотехники и не изменяют ее назначение.